{"product":{"productId":"agid.16520","price":0.61,"name":"Palier lisse à collerette"},"currency":"CHF"}
Matière
Tôle de support en acier.
Couche intermédiaire en bronze fritté.
Surface de glissement en PTFE.
Couche intermédiaire en bronze fritté.
Surface de glissement en PTFE.
Finition
Acier étamé.
Afficher plus
Afficher moins
Description
Matière
Tôle de support en acier.
Couche intermédiaire en bronze fritté.
Surface de glissement en PTFE.
Couche intermédiaire en bronze fritté.
Surface de glissement en PTFE.
Finition
Acier étamé.
Nota
Paliers lisses composites sans entretien en acier, particulièrement adaptés au fonctionnement à sec. Conviennent également parfaitement aux applications lubrifiées (à l'huile). Très faible usure et coefficient de frottement, pas d'effet Stick-Slip. Convient pour les mouvements rotatifs et pendulaires, haute résistance chimique, faible absorption d'eau.
Données techniques
Charge statique : max. 250 N/mm²
Charge dynamique : max. 140 N/mm²
Coefficient de frottement à sec : 0,03 - 0,20
Vitesse de glissement à sec : max. 2 m/s
Vitesse de glissement avec lubrification à l'huile : max. 5 m/s
Conductivité thermique : 42 W(m*K)-1
Coefficient de dilatation thermique : 11*10-6 K-1
Plage de température : -195 °C à +280 °C
Charge dynamique : max. 140 N/mm²
Coefficient de frottement à sec : 0,03 - 0,20
Vitesse de glissement à sec : max. 2 m/s
Vitesse de glissement avec lubrification à l'huile : max. 5 m/s
Conductivité thermique : 42 W(m*K)-1
Coefficient de dilatation thermique : 11*10-6 K-1
Plage de température : -195 °C à +280 °C
Montage
L'utilisation d'un mandrin d'appui adapté est recommandée pour éviter l'endommagement de la surface de glissement. Le joint doit être opposé à la zone de charge. Après le montage, le palier dispose d'un siège d'appui. Le collage est possible mais pas nécessaire.
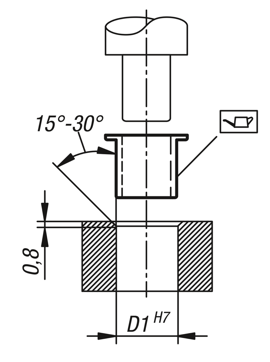
Tolérances
Logement :
Tolérance H7 recommandée.
Etat de surface Ra 0,8 - 1,6.
Chanfrein (côté d'insertion 0,8 - 1,2 x 15°).
Arbre :
Une tolérance h8 à f7 est recommandée. Pour les applications à faible vitesse et charges, il est également possible d'utiliser des arbres étirés de tolérance h9.
Surface de l'arbre Ra 0,4 - 0,8 (utiliser de préférence des arbres rectifiés) pour les arbres étirés Ra 1,6 - 3,2.
Tolérance H7 recommandée.
Etat de surface Ra 0,8 - 1,6.
Chanfrein (côté d'insertion 0,8 - 1,2 x 15°).
Arbre :
Une tolérance h8 à f7 est recommandée. Pour les applications à faible vitesse et charges, il est également possible d'utiliser des arbres étirés de tolérance h9.
Surface de l'arbre Ra 0,4 - 0,8 (utiliser de préférence des arbres rectifiés) pour les arbres étirés Ra 1,6 - 3,2.
Indication de dessin
1) Joint
Remarque importante concernant le téléchargement des modèles CAO
Pour pouvoir télécharger nos modèles CAO, vous devez d’abord connecter. Si vous n’avez pas encore créé de compte, inscrivez-vous en cliquant sur « Mon compte » (à droite de l’écran) et suivez les instructions.