{"product":{"productId":"agid.5699","price":387.48,"name":"Umlenk-Messuhrenhalter 90° Tasthebel mit Gewinde"},"currency":"CHF"}
Werkstoff
Stahl.
Ausführung
brüniert.
Mehr anzeigen
Weniger anzeigen
Beschreibung
Werkstoff
Stahl.
Ausführung
brüniert.
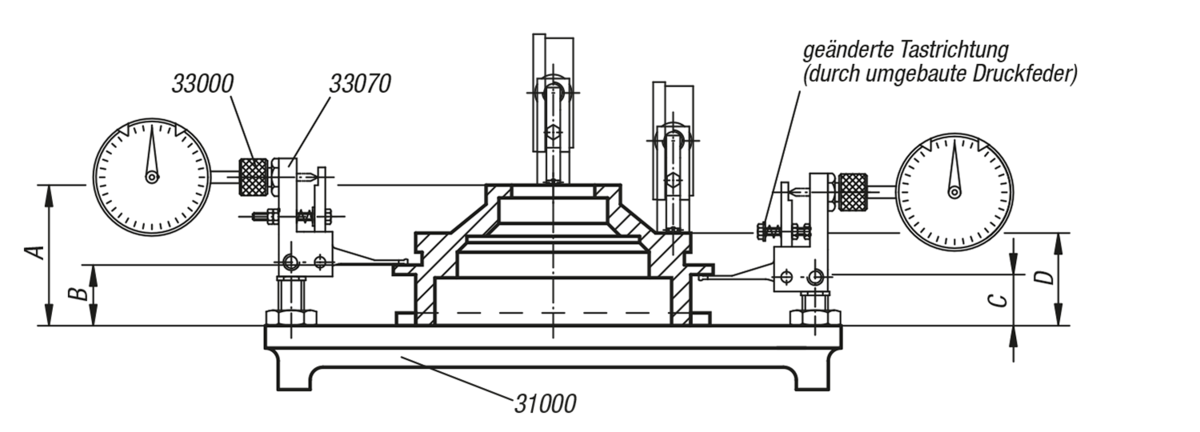
Hinweis
Änderung der Tastrichtung und den Einbau der Umlenk-Messuhrenhalter mit den Befestigungsadaptern (werden mitgeliefert) siehe Technische Hinweise.
Zubehör
Messuhren siehe 32540 und 32542.
Messeinsatz siehe 33042-040016.
Messeinsatz siehe 33042-040016.
Wichtiger Hinweis zum Download von CAD-Modellen
Um unsere CAD-Modelle herunter laden zu können, müssen Sie sich vorher einloggen. Sollten Sie noch kein Konto angelegt haben, registrieren Sie sich bitte unter „Mein Konto“ (rechte Bildschirmseite) und folgen Sie den Anweisungen.