{"product":{"productId":"agid.32739","price":708.89,"name":"Vérin à tirer automatisable"},"currency":"CHF"}
Matière
Acier de traitement.
Finition
Corps de base bruni.
Surface d'appui traitée et rectifiée.
Surface d'appui traitée et rectifiée.
Afficher plus
Afficher moins
Description
Matière
Acier de traitement.
Finition
Corps de base bruni.
Surface d'appui traitée et rectifiée.
Surface d'appui traitée et rectifiée.
Nota
La répétabilité est de ± 0,3 mm.
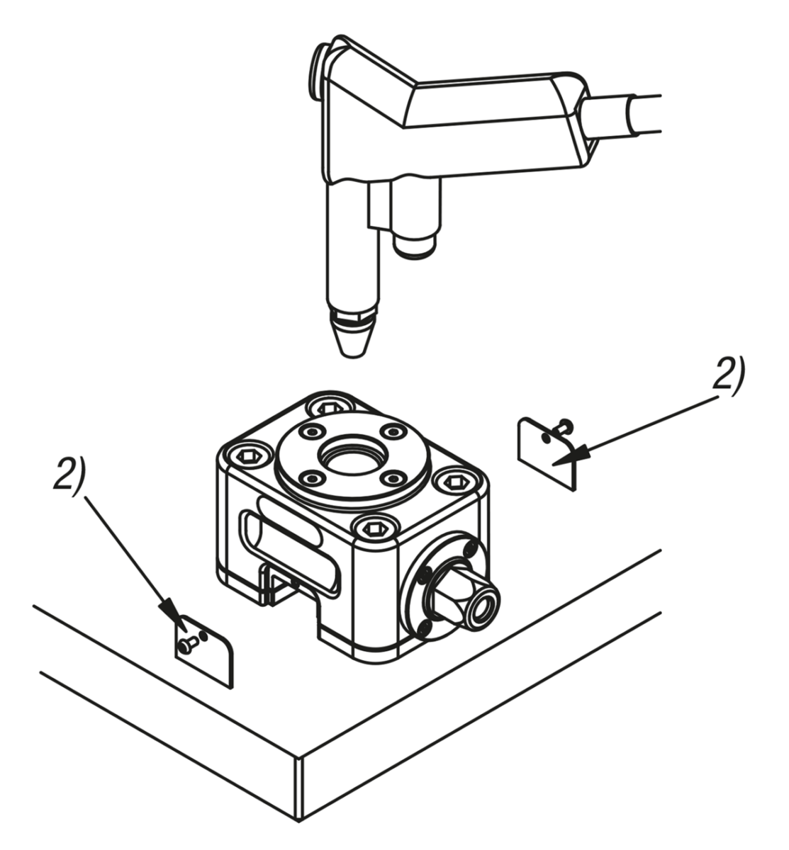
Pour ôter les copeaux et la poussière, retirer les deux caches de recouvrement (2) et injecter de l’air comprimé par le haut.
En cas d’actionnement automatisé, par ex. par clé à chocs à couple réglable, il convient d’utiliser au maximum 50 % du couple de serrage maximal indiqué ou de la force de serrage maximale indiquée pour l’ouverture et le serrage.
Pour ôter les copeaux et la poussière, retirer les deux caches de recouvrement (2) et injecter de l’air comprimé par le haut.
En cas d’actionnement automatisé, par ex. par clé à chocs à couple réglable, il convient d’utiliser au maximum 50 % du couple de serrage maximal indiqué ou de la force de serrage maximale indiquée pour l’ouverture et le serrage.
Consignes d´utilisation
Actionnement au moyen d’une clé à chocs à couple réglable ou manuel à l’aide d’une clé de serrage.
En cas d’actionnement automatisé, par ex. par clé à chocs à couple réglable, il convient d’utiliser au maximum 50 % du couple de serrage maximal indiqué ou de la force de serrage maximale indiquée pour l’ouverture et le serrage.
En cas d’actionnement automatisé, par ex. par clé à chocs à couple réglable, il convient d’utiliser au maximum 50 % du couple de serrage maximal indiqué ou de la force de serrage maximale indiquée pour l’ouverture et le serrage.
Avantages
Automatisables
Forces de serrage élevées
Serrage rapide
Forces de serrage élevées
Serrage rapide
Contenu de la livraison
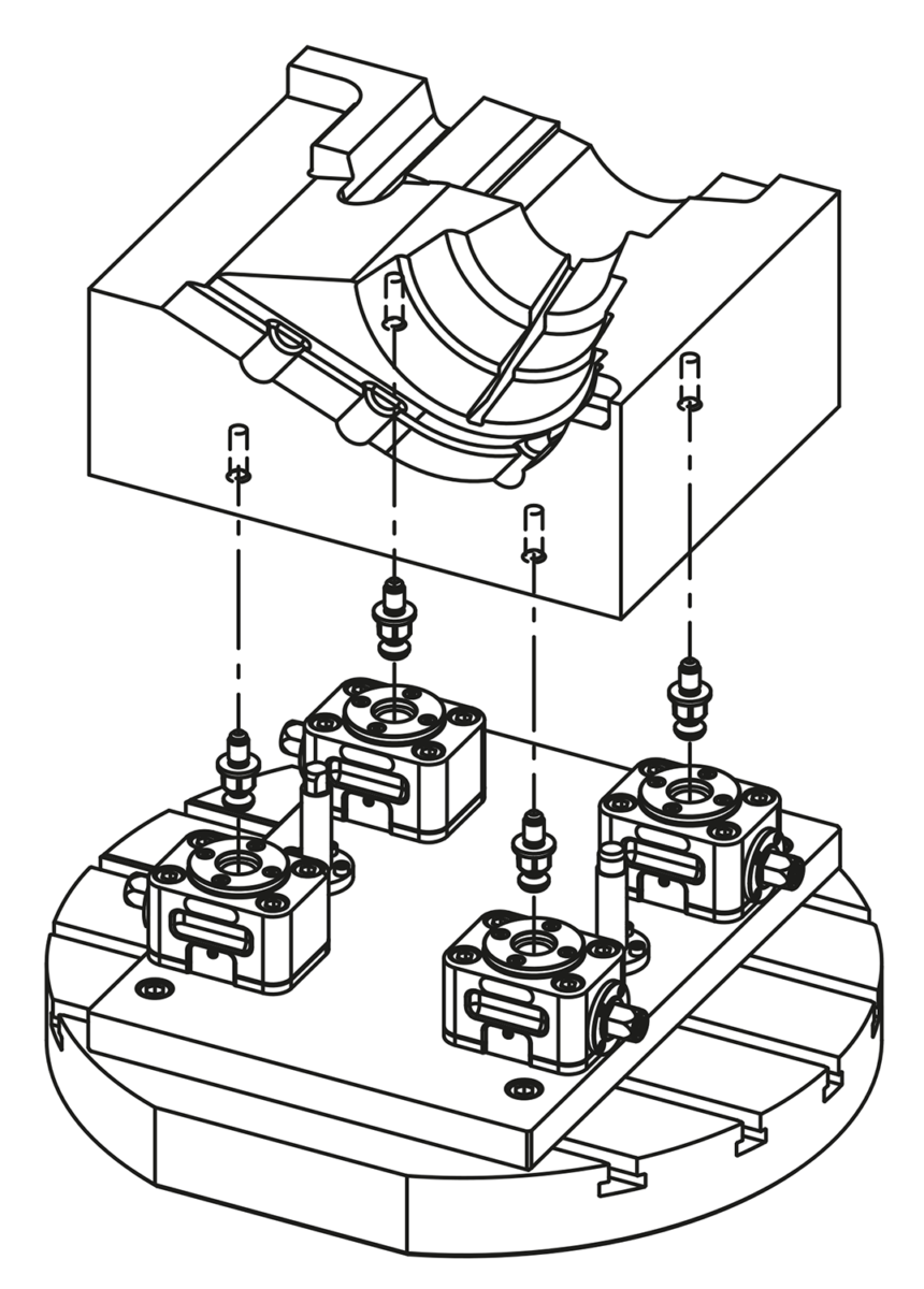
Douilles de positionnement incluses.
Indication de dessin
1) Douilles de positionnement
2) Capuchon de recouvrement
2) Capuchon de recouvrement
Accessoire
04401-05 Vis de serrage pour vérin à tirer automatisable.
04401-20 Unité d'extension.
04401-20 Unité d'extension.
Remarque importante concernant le téléchargement des modèles CAO
Pour pouvoir télécharger nos modèles CAO, vous devez d’abord connecter. Si vous n’avez pas encore créé de compte, inscrivez-vous en cliquant sur « Mon compte » (à droite de l’écran) et suivez les instructions.