{"product":{"productId":"agid.24775","price":116.63,"name":"Cilindro di posizionamento pneumatico in acciaio inox"},"currency":"CHF"}
Materiale
Corpo base in acciaio inox.
Guarnizione NBR.
Guarnizione NBR.
Versione
Acciaio inox non trattato.
Mostra di più
Mostra di meno
Descrizione
Descrizione del prodotto
Nella Posizione iniziale ”forma A” la molla risulta essere serrata (bloccato). Il cilindro di posizionamento viene sbloccato con l'aria compressa.
Nella posizione iniziale ”forma B” la molla non risulta essere serrata (libero). Il cilindro di posizionamento viene serrato con l'aria compressa.
Nella posizione iniziale ”forma B” la molla non risulta essere serrata (libero). Il cilindro di posizionamento viene serrato con l'aria compressa.
Materiale
Corpo base in acciaio inox.
Guarnizione NBR.
Guarnizione NBR.
Versione
Acciaio inox non trattato.
Indicazioni per l'effettuazione dell'ordine d'acquisto
Forma A contrassegnata da linea caratteristica.
Nota
Le forze di serraggio e tenuta indicate si riferiscono a una pressione di esercizio di 0,5 Mpa.
Se si usano più unità di posizionamento si consiglia di non superare l'unità di posizionamento di ± 0,1 mm.
La precisione di ripetibilità è di ± 0,2 mm.
Se si usano più unità di posizionamento si consiglia di non superare l'unità di posizionamento di ± 0,1 mm.
La precisione di ripetibilità è di ± 0,2 mm.
Montaggio
Dimensioni di montaggio per spessore della piastra di 6 mm.
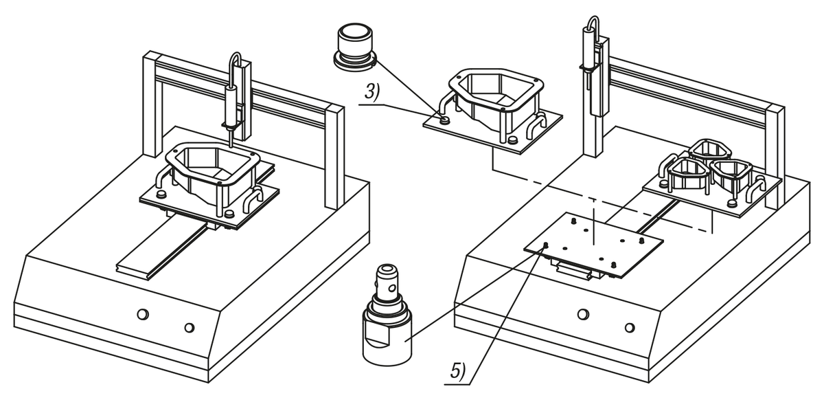
Nota disegno
1) Linea Forma A
2) Raccordo pneumatico
3) Bussola portamaschi per cilindro di posizionamento
4) Cilindro di posizionamento Forma A
5) Cilindro di posizionamento Forma B
2) Raccordo pneumatico
3) Bussola portamaschi per cilindro di posizionamento
4) Cilindro di posizionamento Forma A
5) Cilindro di posizionamento Forma B
Accessory
03161-11 Bussole portamaschi acciaio inox.
Nota importante sul download dei modelli CAD
Per poter scaricare i nostri modelli CAD, occorre effettuare il login. Se non è stato ancora creato un account, si prega di registrarsi alla voce "Il mio account" (lato destro dello schermo) e di seguire le istruzioni.