{"product":{"productId":"agid.22539","price":30.71,"name":"Éléments de commande pour doigt d'indexage avec commande à distance avec bouton de manœuvre en plastique et contre-écrou "},"currency":"CHF"}
	
- Actionnement possible dans les espaces inaccessibles
- Possibilité de position d'actionnement à l'ergonomie optimisée
- Actionnement possible même en cas de distances de sécurité à respecter
- Remplacement aisé des pièces d'usure
- Raccordement flexible d'un élément de commande
Description
							Matière
						
						Doigt d’indexage :
 Douille filetée 1.4305.
 Doigt d’arrêt 1.4034.
 
 Élément de commande 1.4305.
 Bouton de manœuvre en thermoplastique.
 Câble métallique en 1.4401.
 Gaine de câble en fil d’acier avec revêtement plastique intérieur et extérieur.
 Embouts, vis d’arrêt et raccords vissés en laiton.
							Finition
						
						
								Douille filetée brute.
Doigt d’arrêt trempé et rectifié, brut.
Gaine de câble Bowden noire.
Bouton de manœuvre en thermoplastique gris foncé RAL7021.
					Doigt d’arrêt trempé et rectifié, brut.
Gaine de câble Bowden noire.
Bouton de manœuvre en thermoplastique gris foncé RAL7021.
							Remarque
						
						
								Les doigts d'indexage avec commande à distance et l'élément de commande doivent être commandés séparément.
					
							Nota
						
						
								En guise d’alternative à l’élément de commande, le raccord vissé (Ø5 x°7 mm) fourni permet d’intégrer un élément de commande séparé au dispositif.
 
Le câble Bowden est disponible en différentes longueurs.
Afin de garantir un ajustement parfait à l’application concernée, le câble Bowden peut être raccourci en conséquence lors du montage.
 
Une sélection de matériaux et de revêtements appropriés permet d’assurer la protection contre la corrosion. Le câble et la gaine de câble Bowden peuvent être facilement remplacés si nécessaire.
 
Lors de l’installation de câbles Bowden, il convient de tenir compte des points suivants :
la longueur de l’extrémité libre du câble peut varier en fonction de facteurs tels que l’angle de pose, le rayon de courbure ou la charge. La longueur de la contre-butée (gaine du câble) doit donc être ajustée à l’aide de la vis d’arrêt fournie après la pose du câble Bowden. La vis d’arrêt permet de régler en même temps la précontrainte du système de câbles Bowden.
Lors de la pose, il convient de veiller tout particulièrement à ce que le rayon de courbure minimal, en l’occurrence R = 65 mm, ne soit pas inférieur. Un rayon trop étroit peut entraîner une usure accrue et une augmentation des frottements.
Il convient également d’éviter de passer momentanément en dessous du rayon de courbure minimal lors du montage afin de ne pas endommager la gaine du câble. Par ailleurs, la gaine est uniquement conçue pour absorber les forces de pression. Si elle est trop tendue, la spirale interne est étirée et endommagée de façon permanente.
					Le câble Bowden est disponible en différentes longueurs.
Afin de garantir un ajustement parfait à l’application concernée, le câble Bowden peut être raccourci en conséquence lors du montage.
Une sélection de matériaux et de revêtements appropriés permet d’assurer la protection contre la corrosion. Le câble et la gaine de câble Bowden peuvent être facilement remplacés si nécessaire.
Lors de l’installation de câbles Bowden, il convient de tenir compte des points suivants :
la longueur de l’extrémité libre du câble peut varier en fonction de facteurs tels que l’angle de pose, le rayon de courbure ou la charge. La longueur de la contre-butée (gaine du câble) doit donc être ajustée à l’aide de la vis d’arrêt fournie après la pose du câble Bowden. La vis d’arrêt permet de régler en même temps la précontrainte du système de câbles Bowden.
Lors de la pose, il convient de veiller tout particulièrement à ce que le rayon de courbure minimal, en l’occurrence R = 65 mm, ne soit pas inférieur. Un rayon trop étroit peut entraîner une usure accrue et une augmentation des frottements.
Il convient également d’éviter de passer momentanément en dessous du rayon de courbure minimal lors du montage afin de ne pas endommager la gaine du câble. Par ailleurs, la gaine est uniquement conçue pour absorber les forces de pression. Si elle est trop tendue, la spirale interne est étirée et endommagée de façon permanente.
							Contenu de la livraison
						
						
								Élément de commande avec capsule en plastique.
					
							Sur demande
						
						
								Finitions spéciales.
					
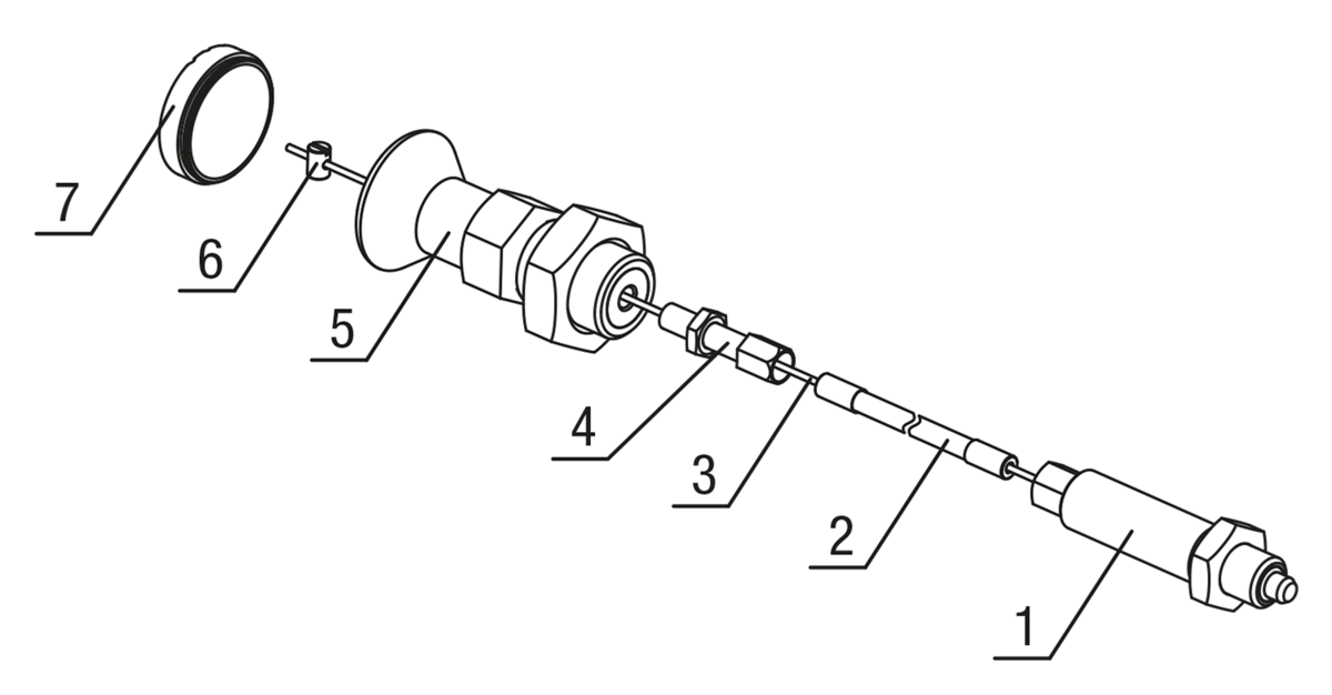
							Indication de dessin
						
						
								1) Doigt d'indexage
2) Gaine de câble Bowden
3) Câble Bowden
4) Vis d'arrêt
5) Élément de commande
6) Raccord vissé
7) Capsule
 
Forme B:sans encoche d’arrêt, avec contre-écrou
					2) Gaine de câble Bowden
3) Câble Bowden
4) Vis d'arrêt
5) Élément de commande
6) Raccord vissé
7) Capsule
Forme B:sans encoche d’arrêt, avec contre-écrou
							Accessoire
						
						
								Écrous hexagonaux 07212.
Supports de doigt d’indexage 03099.
Entretoises 03089.
Douilles de positionnement 03099-50.
Élément de commande 03096-10-12420.
Câbles de traction 03096-14.
Câbles métalliques 03096-15.
Gaines de câble 03096-20.
Embouts 03096-25.
Vis d’arrêt 03096-30.
Raccord vissé 03096-35.
 
					Supports de doigt d’indexage 03099.
Entretoises 03089.
Douilles de positionnement 03099-50.
Élément de commande 03096-10-12420.
Câbles de traction 03096-14.
Câbles métalliques 03096-15.
Gaines de câble 03096-20.
Embouts 03096-25.
Vis d’arrêt 03096-30.
Raccord vissé 03096-35.
            Remarque importante concernant le téléchargement des modèles CAO
        Pour pouvoir télécharger nos modèles CAO, vous devez d’abord connecter. Si vous n’avez pas encore créé de compte, inscrivez-vous en cliquant sur « Mon compte » (à droite de l’écran) et suivez les instructions.
        
        
        
     
                         
                         
                         
                         
                         
                         
			
                     
			
                     
			
                     
			
                     
			
                     
			
                     
			
                     
			
                     
			
                     
			
                     
			
                     
			
                     
			
                     
			
                     
			
                     
			
                     
			
                     
			
                     
			
                    